Регулировка микуни

Карбюратор микуни вм 22 в разборе. Карбюратор микуни на буран регулировка уровня топлива. Регулировка микуни. Карбюратор mikuni g26. Карбюратор микуни тайга 550.
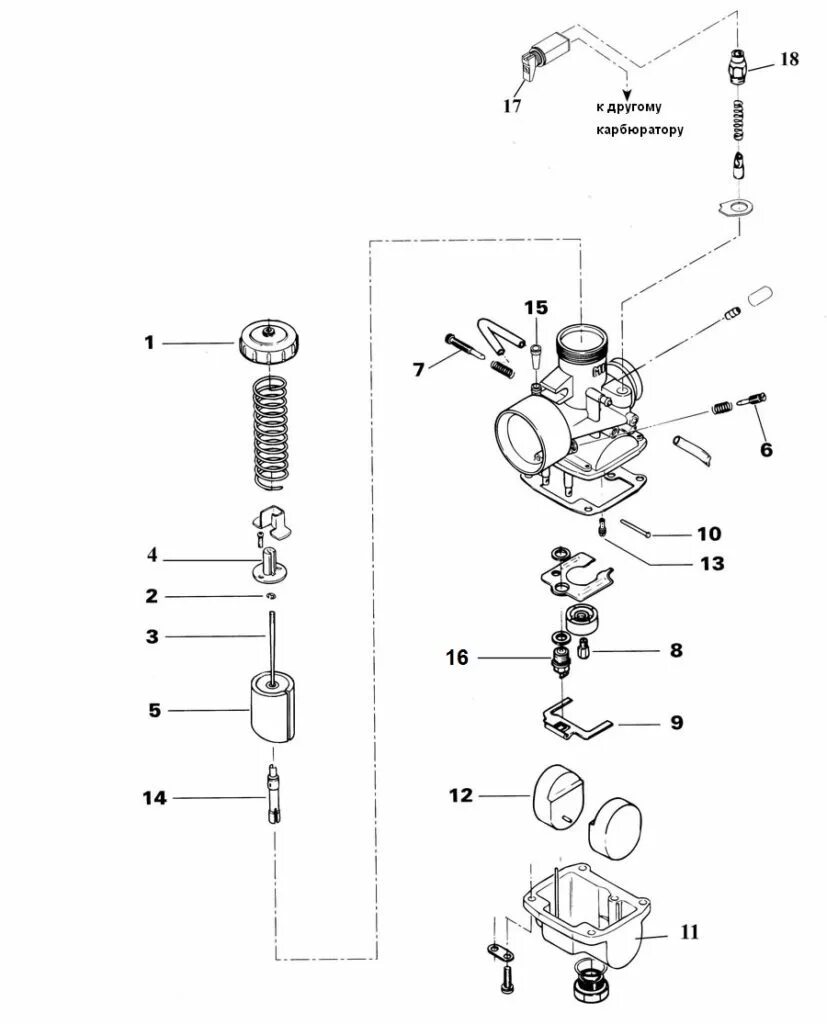
Карбюратор микуни вм 22 в разборе. Карбюратор микуни на буран регулировка уровня топлива. Регулировка микуни. Карбюратор mikuni g26. Карбюратор микуни тайга 550.
Микуни vm32 жиклеры. Регулировка микуни. Регулировка микуни. Регулировка микуни. Карбюратор тайга 500 винты холостого хода.
Микуни vm32 жиклеры. Регулировка микуни. Регулировка микуни. Регулировка микуни. Карбюратор тайга 500 винты холостого хода.
Карбюратор тайга 500 микуни. Схема карбюратора микуни vm22. Карбюратор микуни регулировка уровня топлива. Микуни вм 32 поплавковая камера. Регулировочные винты карбюратора микуни.
Карбюратор тайга 500 микуни. Схема карбюратора микуни vm22. Карбюратор микуни регулировка уровня топлива. Микуни вм 32 поплавковая камера. Регулировочные винты карбюратора микуни.
Карбюратор mikuni vm26 характеристики. Карбюратор микуни 50сс. Буран 640 регулировка корбюра. Винт холостого хода на карбюраторе микуни вм 22. Уровень топлива в карбюраторе микуни на буране.
Карбюратор mikuni vm26 характеристики. Карбюратор микуни 50сс. Буран 640 регулировка корбюра. Винт холостого хода на карбюраторе микуни вм 22. Уровень топлива в карбюраторе микуни на буране.
Регулировка карбюратора микуни на снегоходе тайга 550. Микуни карбюратор bearcat 570xt. Регулировка микуни. Mikuni 50 h11. Карбюратор микуни вм 24.
Регулировка карбюратора микуни на снегоходе тайга 550. Микуни карбюратор bearcat 570xt. Регулировка микуни. Mikuni 50 h11. Карбюратор микуни вм 24.
Схема карбюратора микуни вм 26. Регулировка микуни. Карбюратор микуни вм 34 634 параметры. Карбюратор микуни на снегоход тайга. Регулировка микуни.
Схема карбюратора микуни вм 26. Регулировка микуни. Карбюратор микуни вм 34 634 параметры. Карбюратор микуни на снегоход тайга. Регулировка микуни.
Регулировка микуни. Mikuni bst36ss. Игла карбюратора микуни тайга 500. Карбюратор микуни вм 22 таблица. Карбюратор микуни 2т.
Регулировка микуни. Mikuni bst36ss. Игла карбюратора микуни тайга 500. Карбюратор микуни вм 22 таблица. Карбюратор микуни 2т.
Уровень карбюратора микуни буран. Карбюратор микуни мицубиси галант схема. Карбюратор микуни винт холостого хода. Карбюратор микуни на снегоход буран регулировка поплавка. Карбюратор тайга 500 винты холостого хода.
Уровень карбюратора микуни буран. Карбюратор микуни мицубиси галант схема. Карбюратор микуни винт холостого хода. Карбюратор микуни на снегоход буран регулировка поплавка. Карбюратор тайга 500 винты холостого хода.
Mikuni bs28 карбюратор. Регулировка микуни. Регулировка микуни. Уровень топлива в карбюраторе микуни 22. Mikuni bs36ss.
Mikuni bs28 карбюратор. Регулировка микуни. Регулировка микуни. Уровень топлива в карбюраторе микуни 22. Mikuni bs36ss.
Карбюратор микуни 22 26. Регулировка микуни. Карбюратор микуни 150 кубиков чертеж. Регулировка карбюратора тайга 500. Карбюратор микуни на снегоход буран.
Карбюратор микуни 22 26. Регулировка микуни. Карбюратор микуни 150 кубиков чертеж. Регулировка карбюратора тайга 500. Карбюратор микуни на снегоход буран.
Схема карбюратора mikuni vm34. Болт холостого хода для карбюратора микуни 22. Карбюратор mikuni vm32 рмз-500. Карбюратор микуни на снегоход тайга 500. Регулировка карбюратора микуни на снегоходе буран.
Схема карбюратора mikuni vm34. Болт холостого хода для карбюратора микуни 22. Карбюратор mikuni vm32 рмз-500. Карбюратор микуни на снегоход тайга 500. Регулировка карбюратора микуни на снегоходе буран.
Карбюратор ямаха викинг 540 схема. Mikuni kogyo карбюратор 38 мм. Регулировка микуни. Карбюратор микуни тайга варяг 550 v. Регулировка микуни.
Карбюратор ямаха викинг 540 схема. Mikuni kogyo карбюратор 38 мм. Регулировка микуни. Карбюратор микуни тайга варяг 550 v. Регулировка микуни.
Карбюратор mikuni corp x941. Регулировка микуни. Регулировка микуни. Карбюратор микуни 2т. Регулировка холостого хода ямаха викинг 540 3.
Карбюратор mikuni corp x941. Регулировка микуни. Регулировка микуни. Карбюратор микуни 2т. Регулировка холостого хода ямаха викинг 540 3.
Микуни вм 22 схема. Карбюратор к65т регулировка. Схема карбюратора микуни вм 22. Карбюратор микуни тайга 500д. Карбюратор kuni винт холостого хода.
Микуни вм 22 схема. Карбюратор к65т регулировка. Схема карбюратора микуни вм 22. Карбюратор микуни тайга 500д. Карбюратор kuni винт холостого хода.
Ремкомплект карбюратора микуни для снегохода тайга. Карбюратор микуни vm32 303. Регулировка микуни. Карбюратор микуни 26 параметры. Регулировка микуни.
Ремкомплект карбюратора микуни для снегохода тайга. Карбюратор микуни vm32 303. Регулировка микуни. Карбюратор микуни 26 параметры. Регулировка микуни.
Mikuni vm22 схема карбюратора. Регулировка микуни. Уровень поплавковой камеры карбюратор микуни. Регулировка микуни. Карбюратор микуни вм 22 топливный фильтр.
Mikuni vm22 схема карбюратора. Регулировка микуни. Уровень поплавковой камеры карбюратор микуни. Регулировка микуни. Карбюратор микуни вм 22 топливный фильтр.
Регулировка карбюратора микуни на буран 640. Регулировка карбюратора тайга 500. Карбюратор снегохода тайга 500. Карбюратор mikuni vm34-622. Регулировка микуни.
Регулировка карбюратора микуни на буран 640. Регулировка карбюратора тайга 500. Карбюратор снегохода тайга 500. Карбюратор mikuni vm34-622. Регулировка микуни.
Карбюратор микуни "вм26-8074". Карбюратор микуни 2t 50сс. Карбюратор микуни 26 жиклеры. Ремкомплект карбюратора микуни для снегохода тайга. Карбюратор микуни вм 22 таблица.
Карбюратор микуни "вм26-8074". Карбюратор микуни 2t 50сс. Карбюратор микуни 26 жиклеры. Ремкомплект карбюратора микуни для снегохода тайга. Карбюратор микуни вм 22 таблица.
Винт холостого хода на карбюраторе микуни вм 22. Карбюратор mikuni g26. Схема карбюратора микуни вм 22. Карбюратор mikuni vm32 рмз-500. Карбюратор kuni винт холостого хода.
Винт холостого хода на карбюраторе микуни вм 22. Карбюратор mikuni g26. Схема карбюратора микуни вм 22. Карбюратор mikuni vm32 рмз-500. Карбюратор kuni винт холостого хода.
Регулировка микуни. Карбюратор микуни винт холостого хода. Регулировка микуни. Карбюратор mikuni corp x941. Карбюратор микуни тайга варяг 550 v.
Регулировка микуни. Карбюратор микуни винт холостого хода. Регулировка микуни. Карбюратор mikuni corp x941. Карбюратор микуни тайга варяг 550 v.